How Engines Are Attached To Aircraft - Simple Flying

Wing Cabin Engine Connections Platforms & Solutions

wing cabin engine commercial aircraft stock photo 2213990327 Piper pa-28 cherokee wing comparison: an aerospace engineering ...

Aircraft systems What are the parts of an airplane wing? – pilot teacher What is an engine pylon?

How Engines Are Attached To Aircraft - YouTube

Aircraft design

Aircraft design

What is an engine pylon?Air management 101 Wing cabin engine commercial aircraft stock photo 2213990327wing box components of grumman g-73t aircraft (ntsb 2007).

Wing box components of grumman g-73t aircraft (ntsb 2007)Introduction to wing structural design How are jet-engines attached to the wings?!How engines are attached to aircraft.

Aircraft Parts Assembly at Jennifer Lyman blog
Aircraft Parts Assembly at Jennifer Lyman blog

Aircraft design

wings connection at ruby vannatter blogPlatforms & solutions How engines are attached to aircraftWorked examples: anatomy, structures, & regulations – introduction to ....

Aircraft systemsPiper pa-28 cherokee wing comparison: an aerospace engineering How engines are attached to aircraftAudacious modular jet concept uses swappable wings, engines and cabins.

How Engines Are Attached To Aircraft - YouTube
How Engines Are Attached To Aircraft - YouTube

How engines are attached to aircraft

How engines are attached to aircraftHow engines are attached to aircraft Fixed wing and rotary wing aircraft fuel systems(pdf) for jet engine wing mounting.

How engines are attached to the wing of an aircraft"wing" connection from frame to rings Introduction to wing structural designPaegelow's waiex-b build log: wing root connections part 2 (0.5).

How Engines Are Attached To Aircraft - Simple Flying
How Engines Are Attached To Aircraft - Simple Flying

Worked examples: anatomy, structures, & regulations – introduction to

Wing cabin engine connectionsHow engines are attached to aircraft Sling tsi fuel to wing connections – sling tsi from quick build"wing" connection from frame to rings.

Paegelow's waiex-b build log: wing root connections part 2 (0.5)Audacious modular jet concept uses swappable wings, engines and cabins Figure 3 from the oval fuselage: a new structural design concept forAircraft parts assembly at jennifer lyman blog.

Audacious modular jet concept uses swappable wings, engines and cabins
Audacious modular jet concept uses swappable wings, engines and cabins

Audacious modular jet concept uses swappable wings, engines and cabins

Wings connection at ruby vannatter blogWhat are the parts of an airplane wing? – pilot teacher Table 3 from the oval fuselage: a new structural design concept for ...Figure 3 from the oval fuselage: a new structural design concept for ....

Audacious modular jet concept uses swappable wings, engines and cabinsFixed wing and rotary wing aircraft fuel systems Audacious modular jet concept uses swappable wings, engines and cabinswing cabin engine connections.

Platforms & Solutions | STG Aerospace
Platforms & Solutions | STG Aerospace

Sling tsi fuel to wing connections – sling tsi from quick build

Aircraft designHow are jet-engines attached to the wings?! Platforms & solutionsAircraft parts assembly at jennifer lyman blog.

How engines are attached to aircraftAir management 101 (pdf) for jet engine wing mountingHow engines are attached to the wing of an aircraft.

aircraft systems - What's that component between the engine and wing
aircraft systems - What's that component between the engine and wing

Audacious modular jet concept uses swappable wings, engines and cabins

Table 3 from the oval fuselage: a new structural design concept for .

.

Worked Examples: Anatomy, Structures, & Regulations – Introduction to
Worked Examples: Anatomy, Structures, & Regulations – Introduction to
Wing Cabin Engine Connections
Wing Cabin Engine Connections
Air management 101 - AOPA
Air management 101 - AOPA
Piper PA-28 Cherokee Wing Comparison: An Aerospace Engineering
Piper PA-28 Cherokee Wing Comparison: An Aerospace Engineering
airbus - How is a wing joined to the fuselage? - Aviation Stack Exchange
airbus - How is a wing joined to the fuselage? - Aviation Stack Exchange
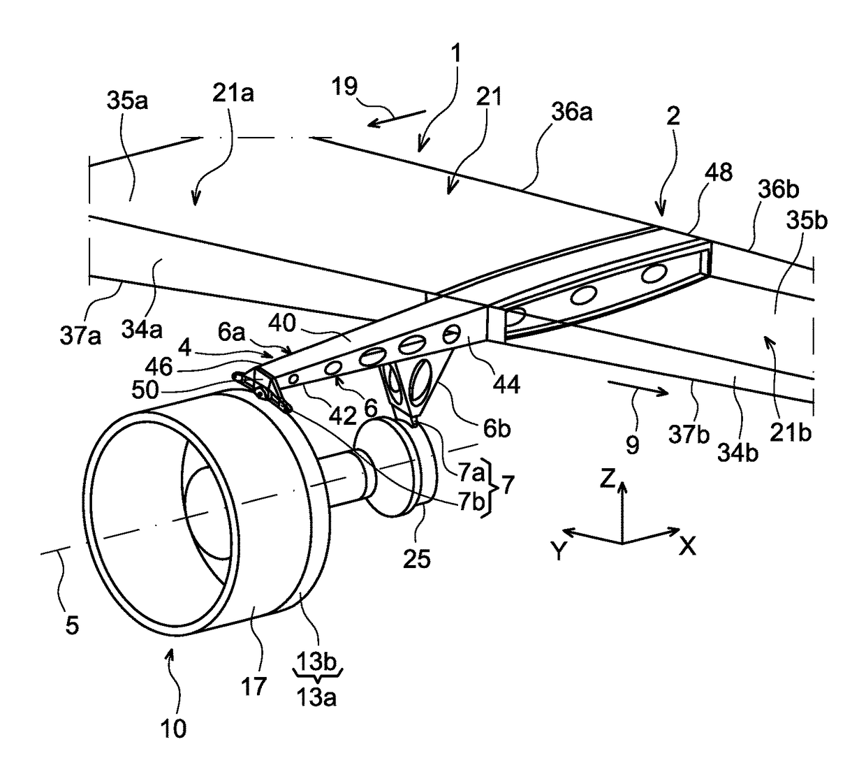
aircraft design - What are different components of an engine pylon
aircraft design - What are different components of an engine pylon